|
三通衬胶隔膜阀,G49J-10型号衬胶阀门是用来改变通路断面和介质流动方向,具有导流、截止、调节、节流、止回、分流或溢流等功能。阀门可用于控制水、蒸汽、油品、气体、泥浆、各种腐蚀性介质、 液态金属和放射性流体等流体的流动。
G49J三通衬胶隔膜阀专用于控制非腐蚀性或一般腐蚀性介质,阀体内腔表面无衬里或覆有可供选择的各种橡胶,适用于不同工作温度和流体管路。衬里材料的多样性,可适用于各种介质,并具有良好的耐腐蚀性。阀体与盖被中间隔膜隔开,使得隔膜上方的阀盖,阀杆零件不受介质侵蚀,隔膜阀是一种特殊形式的截止阀。
G49J三通衬胶隔膜阀产品型号: G49J-6、G49J-10、G49J-6Q、G49J-10Q、G49J-6C、G49J-10C、G49J-6P、G49J-10P
|
设计标准
|
GB12239
|
|
结构长度
|
JB1688/GB12221
|
|
法兰标准
|
JB78
|
|
GB4216
|
|
检验试验
|
GB/T13927
|
|
驱动方式
|
手动、电动、气动、常闭型、常开型
|
衬胶隔膜阀主要零部件材料表
|
序号
|
零件名称
|
灰铸铁
|
铸钢
|
不锈耐酸铸钢
|
超低不锈钢耐酸铸钢
|
|
Z
|
C
|
P
|
R
|
P
|
R
|
|
1
|
阀体/阀盖
|
HT250
|
WCB
|
CF8
|
CF8M
|
CF3
|
CF3M
|
|
2
|
阀瓣/阀杆
|
35
|
1cr13
|
1Cr18Ni9Ti
|
1Cr18Ni12Mo2Ti
|
00cr18Ni10
|
00Cr17Ni14Mo2
|
|
3
|
衬里/阀座
|
PTFE(F4)、PCTFE(F3)、FEP(F46)、PFA(可溶性F4)
|
|
4
|
隔膜
|
FEP(F46)/CR(氯丁橡胶)、PFA(可溶性F4)/FPDM(乙丙橡胶)
|
|
5
|
支架
|
WCB
|
CF8
|
CF8
|
|
6
|
阀杆螺母
|
ZCuAI10Fe3
|
ZCuAI10Fe3
|
ZCuAI10Fe3
|
|
7
|
紧固螺栓
|
35
|
1Cr17Ni2
|
1Cr18Ni9Ti
|
|
8
|
螺母
|
45
|
0Cr18Ni9
|
0Cr18Ni9
|
|
9
|
手轮
|
WCB
|
WCB
|
WCB
|
适用温度:≤85℃、≤100℃、≤120℃、≤150℃(按照衬里和隔膜材料)
压力等级:PN(MPa) 0.6 1.0 1.6
材料:
阀体:铸铁、球墨铸铁、碳钢、不锈钢
阀盖:铸铁、球墨铸铁、碳钢、不锈钢
衬里:无衬里、橡胶
隔膜:橡胶
阀瓣:铸铁、碳钢
阀杆:碳钢、不锈钢
手轮:铸铁
测试:
衬里层:电火花检测
试验与检验按BS6755标准
公称压力:PN(MPa)
阀体:PN×1.5
密封:PN×1.1
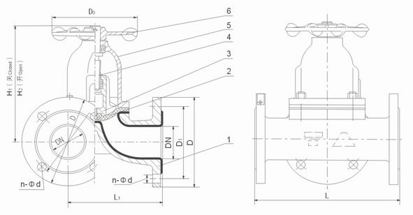
结构特点:
隔膜阀是一种特殊形式的截止阀:
1. 弹性密封的开闭件,确保没有内漏;
2. 流线型的流道,使得压力损失小;
3. 没有填料函,因此没有外漏;
4. 阀体与盖被中间隔膜隔开,使得隔膜上方的阀盖,阀杆等零件不受介质侵蚀;
5. 隔膜可更换,维护费用低;
6. 衬里材料的多样性,可适用于各种介质,并具有强度高、耐腐蚀性能好的特点。
G49J,G49J三通衬胶隔膜阀
G49J-10,G49J-10三通衬胶隔膜阀
DN
mm
|
公称压力
MPa
|
工作压力
MPa
|
L
(mm)
|
D
(mm)
|
D1
(mm)
|
n-φd
(mm)
|
F
(mm)
|
H1
(mm)
|
H2
(mm)
|
D0
(mm)
|
质量
|
|
25
|
1.0
|
1.0
|
160
|
96
|
115
|
85
|
4-14
|
108
|
120
|
66
|
5.5
|
|
32
|
180
|
118
|
135
|
100
|
4-18
|
138
|
157
|
96
|
8.5
|
|
40
|
200
|
135
|
145
|
110
|
4-18
|
147
|
167
|
96
|
12.5
|
|
50
|
230
|
150
|
160
|
125
|
4-18
|
167
|
192
|
96
|
17
|
|
65
|
290
|
182
|
180
|
145
|
4-18
|
194
|
229
|
165
|
24.5
|
|
80
|
310
|
210
|
195
|
160
|
4-18
|
212
|
252
|
230
|
33.5
|
|